
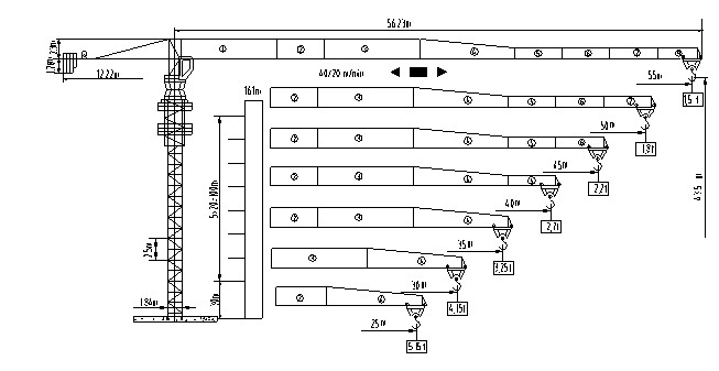
鐵力士平頭塔機QTP100(5515)塔式起重機額定起重力矩100 T·M,最大臂長55M, 55M處可吊1.5T,最大起重量為6噸,臂長組合為5m遞減,共可組合成7種不同的長度,最小臂長為25M,使用十分方便且滿足GB/T5031<<塔式起重機>>和GB5144<<塔式起重機安全規程>>等標準。與傳統的帶頭塔機相比,該塔機具有以下優勢:
1) 大大降低拆裝塔機對所需起重設備起重能力的要求。平頭塔機QTP100由于取消了塔頭,七單元質量小、安裝高度低,最大安裝高度可比同級的其它塔機降低10m以上。普通塔機安裝吊臂時必須在地面上先將臂架、拉桿等全部連接好再進行整機吊裝,此時對起重設備的要求最高,要有很大的起重量和起升高度。因為臂根銷軸連好后還要將大臂太高許多才能將吊臂拉桿練好,安裝吊臂時容易出現安全事故,而平頭塔機安裝則徹底被改善。
2) 適合于群塔交叉作業。由于平頭塔機取消了塔頭,當群塔交叉作業時,總體高度可大大降低。具有總體安裝時減少、對安裝設備的要求低、減少每臺塔機的壓重及采用較小的塔身截面和底架等優點。
3) 適合對高度有特殊要求的場合施工。由于沒有塔頭,吊鉤的有效高度大為提高,空間利用率高,因此非常適合于對高度有特殊要求的場合,如高壓線下的施工等。
4) 適合于對幅度變化有要求的施工場合。此塔機臂節特殊的連接方式及沒有塔頭、拉桿,使其吊臂的逐節拆裝非常簡易、安全,施工中如需要改變吊臂的長度不用拆下整個吊臂,而在空中就可以文成臂節的增減。
5) 吊臂的適用性好、利用率高。吊臂的設計便于實現模數化,能充分發揮吊臂的靈活性和適應性。
此外,QTP100(5515)塔式起重機還采用了三速電機調速技術,變頻無級調速技術,雙速電機驅動等,大大提高了設備的穩定性和可靠性。

QTP100(5515)塔式起重機 載荷特性Load capacity
| m |
2.5~ 17.1 |
20 |
22 |
25 |
28 |
30 |
32 |
35 |
38 |
40 |
43 |
45 |
47 |
50 |
53 |
55 |
| T |
a=4 |
6 |
5.0 |
4.49 |
3.87 |
3.38 |
3.11 |
2.88 |
2.58 |
2.33 |
2.19 |
1.99 |
1.88 |
1.78 |
1.64 |
1.51 |
1.45 |
| a=2 |
3 |
2.93 |
2.63 |
2.38 |
2.24 |
2.04 |
1.93 |
1.83 |
1.59 |
1.56 |
1.50 |
| m |
2.5~ 18 |
20 |
22 |
25 |
28 |
30 |
32 |
35 |
38 |
40 |
43 |
45 |
47 |
50 |
| T |
a=4 |
6 |
5.3 |
4.75 |
4.1 |
3.59 |
3.31 |
3.06 |
2.75 |
2.48 |
2.33 |
2.13 |
2.0 |
1.9 |
1.75 |
| a=2 |
3 |
2.8 |
2.53 |
2.38 |
2.18 |
2.05 |
1.95 |
1.8 |
| m |
2.5~ 18.9 |
20 |
22 |
25 |
28 |
30 |
33 |
35 |
38 |
40 |
43 |
45 |
| T |
a=4 |
6 |
5.63 |
5.05 |
4.36 |
3.82 |
3.52 |
3.15 |
2.93 |
2.65 |
2.49 |
2.28 |
2.15 |
| a=2 |
3 |
2.98 |
2.7 |
2.54 |
2.33 |
2.2 |
| m |
2.5~19.9 |
22 |
25 |
28 |
30 |
33 |
35 |
38 |
40 |
| T |
a=4 |
6 |
5.35 |
4.62 |
4.05 |
3.74 |
3.34 |
3.11 |
2.82 |
2.65 |
| a=2 |
3 |
2.87 |
2.7 |
| m |
2.5~20.6 |
22 |
25 |
28 |
30 |
33 |
35 |
| T |
a=4 |
6 |
5.57 |
4.81 |
4.22 |
3.9 |
3.48 |
3.25 |
| a=2 |
3 |
| m |
2.5~21.2 |
23 |
25 |
27 |
30 |
| T |
a=4 |
6 |
5.49 |
4.99 |
4.57 |
4.04 |
| a=2 |
3 |
| m |
2.5~21.8 |
23 |
25 |
| T |
a=4 |
6 |
5.65 |
5.15 |
| a=2 |
3 |
Mechanism specification 機構特性
| |
|
|
360m |
| Hoisting 起升 |
T |
a=2 |
a=4 |
24/24/5.4KW |
| 1.5 |
3 |
3 |
3 |
6 |
6 |
| m/min |
80 |
40 |
10 |
40 |
20 |
5 |
| T |
1.5 |
3 |
3 |
6 |
24KW |
| m/min |
0~80 |
0~40 |
0~40 |
0~20 |
| Trolleying 變幅 |
40/20m/min 0~60m/min |
3.3/2.2kw 4kw |
| Slewing 回轉 |
0.6r/min 0~0.6r/min |
2X 3.7kw 2X 55Nm |
| Travepng 行走 |
0~20m/min |
2*5.2KW |
| Necessary electric power 供電容量 |
|
60KVA |
| Power 電源 |
380v/50HZ |
|